全国统一咨询热线 18703736676
双梁起重机
首页 > 产品中心 > 双梁起重机
上旋转伸缩电磁挂梁桥式起重机
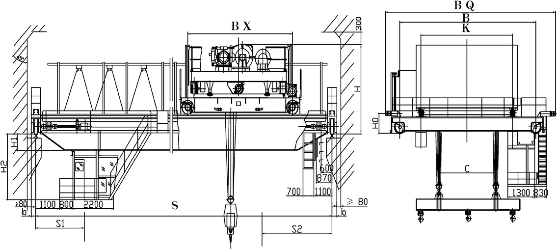
  本起重机带有可旋转挂梁,适用于钢厂、堆场和仓储等室内或露天的固定跨间,装卸及搬运钢板、型钢、盘卷...
18703736676

  本起重机带有可旋转挂梁,适用于钢厂、堆场和仓储等室内或露天的固定跨间,装卸及搬运钢板、型钢、盘卷等物料。特别适用于吊运不同规格且需水平旋转的场合。挂梁下可以携带电磁吸盘、夹钳等专用吊具。

  The crane has slewing carrier-beam;is applicable to the fixed span at indoors or outdoors of stee1mil1.yard and storage,etc.It is used for loading,unloading  and carrying stee1 plate,profile steel,and spool,etc.It is especially applicable to lift materia1 of different peifications and which needs horizontal rotation.The lower part of the carriler—beam can bring special lifting appliances,such as magnetic chuck and tongs,etc.

  注:

  1、进入司机室的走台方式分为:端入、侧入、顶入。

  2、起重量包含挂梁及专用吊具自重;

  3、挂梁大旋转角度可按用户要求;

  4、以上所有数据为室内使用时;

  5、参数表中起重机总功率为行车本体功率,不含专用吊具功率。

  Note:

  1.The modes entering cab:form the end:form the side;form the top。

  2.The lifting  weight includes deadweight of the carrier—beam and special lifting applicnces;

  3.The max.rotating angle of the carrier—beam can be made as the user asks;

  4.All above-mentioned data is for being used indoors;

  5. The total power of the crane in the parameter list is the power of the travelling crane,but excludes

  the power ofspecial lifting appliances.


我们的优势/ Our advantages
品质保障
品质保障
现有员工3100余人,占地68万余平方米,拥有资产10.33亿元
**设备
**设备
拥有各类加工设备1300台(套),能独立完全部生产工艺流程
支持定制
支持定制
可根据客户实际情况进行设计,提供更适合您的产品解决方案
服务无忧
服务无忧
7*24小时专职客服快速响应服务,快速解决使用难题
立即订购/ Order now
服务热线:
18703736676
联系我们Contact us

电话:梁经理:18703736676

电话:0373-8793988:0373-8419288

邮箱:18703736676@163.com

地址:长垣市长恼工业区ag九游会j9集团路

分公司地址:洛阳市西工区洛阳工业园区衡山路100号

版权所有 河南省ag九游会j9集团起重机有限公司 备案号:豫ICP备17001028号-8